摘要:今日上午,卫星ETF再度放量大涨,多只卫星ETF更是实现涨停,其中,包括卫星ETF(159206)在内的三只卫...
今日上午,卫星ETF再度放量大涨,多只卫星ETF更是实现涨停,其中,包括卫星ETF(159206)在内的三只卫星ETF半日成交金额超过10亿元,合计成交金额超50亿元。跨境ETF方面,香港证券ETF易方达(513090)半日成交金额达到82.36亿元,继续保持高成交量状态。


ETF涨幅榜方面,随着AIGC概念发酵,传媒ETF今日表现突出,半日便实现涨停。卫星ETF依旧是资金追捧的方向,多只卫星ETF半日涨幅也在9%以上,软件、云计算以及航空航天等ETF半日涨幅同样在5%以上,涨幅较大。
点评:传媒ETF(512980)和传媒ETF(159805)今日上午双双涨停,其中,传媒ETF(512980)规模较大,其份额为34.38亿份,半日成交金额高达23.49亿元,上述两只ETF均追踪的是中证传媒指数。
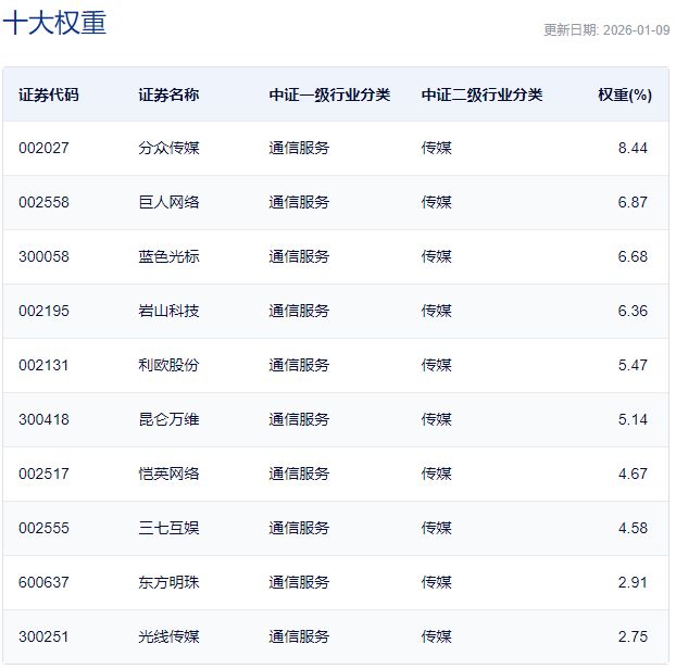
中证传媒指数从营销与广告、文化娱乐、数字媒体等行业中,选取总市值较大的50只上市公司证券作为指数样本,以反映传媒领域代表性上市公司证券的整体表现。

中证传媒指数主要权重股
以下内容为友情赞助提供

全网新项目分享交流群
扫码进群,获取最新项目资讯

TG:@say588



